Micro exhaust valve
Technical Specifications
Item model number: ARSX
Nominal diameter: DN15~25mm
Nominal pressure: PN1.0~1.6MPa
Applicable temperature: ≤80°C
Applicable medium: water, oil and corrosive liquid
Sales Hotline:
Product Details
Product overview
Under normal circumstances, the water contains about 2VOL% of dissolved air. During the main water delivery process, these air are continuously released from the water and gather at the high point of the pipeline to form an air pocket (AIR POCKET), which makes the Water delivery becomes difficult and the water delivery capacity of the system can be reduced by about 5-15%. The main function of this micro exhaust valve is to remove the 2VOL% dissolved air, and it is suitable for installation in high-rise buildings, piping in factories, and small pump stations to protect or improve the water delivery efficiency of the system and save energy.
Single lever type (SIMPLE LEVERTYPE) micro exhaust valve is a similar oval valve body, all internal parts including float ball, lever, lever frame, valve seat, etc. are made of 304SS stainless steel, and the internal standard exhaust hole is 1/16 ", suitable for PN16 working pressure ring. Quasi-exhaust aperture 1/16", suitable for PN16 working pressure environment.
Main part material
Name: Bonnet, Body, Float, Lever, Lever Holder, Plug
Material: Ductile iron, 304 stainless steel, synthetic rubber, all copper
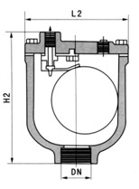
Main connection size
| DN |
10(3/8″) |
15(1/2″) |
20(3/4″) |
25(1″) |
|
L1 |
47 |
47 |
47 |
47 |
|
H1 |
113 |
113 |
113 |
113 |
|
L2 |
102 |
102 |
102 |
102 |
|
H2 |
127 |
127 |
127 |
127 |

Check the mobile website